分體式滑環安裝方式
分離的轉子和接觸刷組合的滑環叫分體式滑環, 可以解決對安裝尺寸限制的問題。



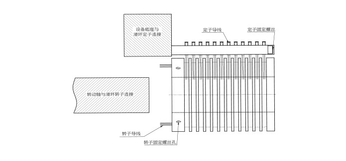
由于分體式滑環是轉子和定子分離的滑環,獨立安裝,因此在安裝的時候特別要注意安裝的相對位置,保證觸點和環道有足夠壓力。
1)轉子部分和定子部分獨立安裝,但是一定要保證同心度和轉子和定子的位置,保證足夠的觸點壓力。
2)在滑環安裝時,務必要保護好導線,避免因導線絕緣層損壞而影響到產品品質。
3)滑環是精密電氣元件,應該在一個干燥,少塵的環境下工作,如果環境惡劣,應增加防護措施。
4)確定固定部分的螺母不松動。
5)定子線遠離轉動軸,轉子線遠離固定部分,以免在旋轉中刮傷導線。